Официальное опубликование правовых актов
ОФИЦИАЛЬНОЕ ОПУБЛИКОВАНИЕ
Распоряжение Комитета по государственному контролю, использованию и охране памятников истории и культуры Санкт-Петербурга от 03.10.2023 № 811-рп
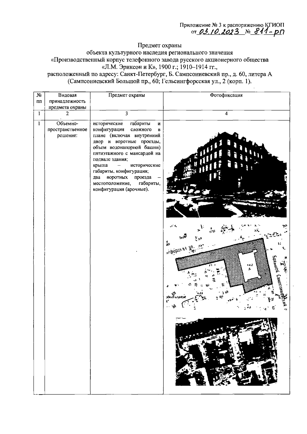
"О включении выявленного объекта культурного наследия в единый государственный реестр объектов культурного наследия (памятников истории и культуры) народов Российской Федерации в качестве объекта культурного наследия регионального значения "Производственный корпус телефонного завода русского акционерного общества "Л.М. Эриксон и К", об утверждении границ и режима использования территории объекта культурного наследия, об утверждении предмета охраны объекта культурного наследия"
(Зарегистрирован 03.10.2023 № 35995)
Номер опубликования: 7801202310060001
Дата опубликования: 06.10.2023
Страница №8 из 14:
Увеличить