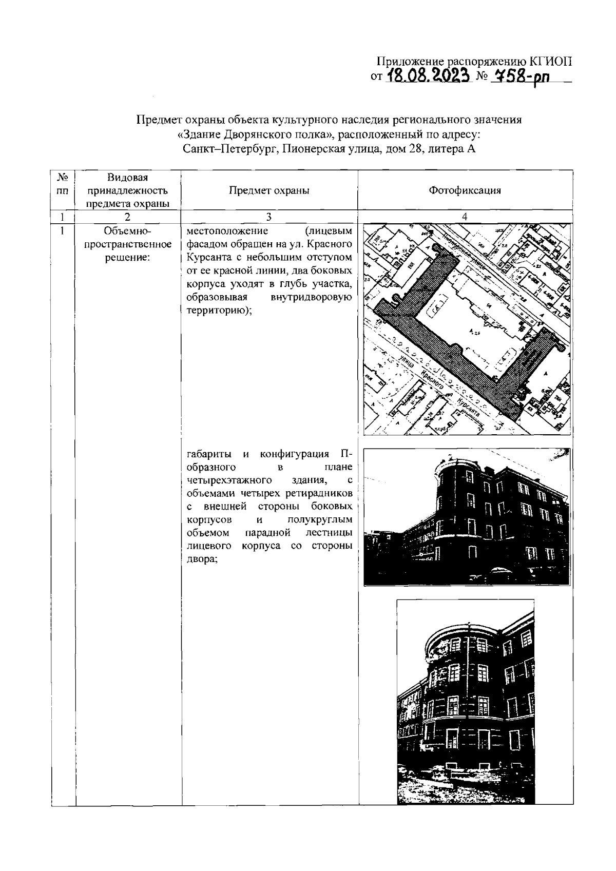
Распоряжение Комитета по государственному контролю, использованию и охране памятников истории и культуры Санкт-Петербурга от 18.08.2023 № 758-рп
"Об утверждении предмета охраны объекта культурного наследия регионального значения "Здание Дворянского полка"
(Зарегистрирован 18.08.2023 № 35730)
"Об утверждении предмета охраны объекта культурного наследия регионального значения "Здание Дворянского полка"
(Зарегистрирован 18.08.2023 № 35730)
Номер опубликования: 7801202308240004
Дата опубликования:
24.08.2023
