Официальное опубликование правовых актов
ОФИЦИАЛЬНОЕ ОПУБЛИКОВАНИЕ
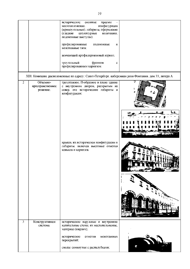
Распоряжение Комитета по государственному контролю, использованию и охране памятников истории и культуры Санкт-Петербурга от 27.12.2021 № 426-рп
"Об утверждении предмета охраны объекта культурного наследия федерального значения "Дворец Аничков и Кабинет Его Императорского Величества"
Номер опубликования: 7801202201010012
Дата опубликования: 01.01.2022
Страница №20 из 93:
Увеличить