Распоряжение Комитета по государственному контролю, использованию и охране памятников истории и культуры Санкт-Петербурга от 28.12.2021 № 430-рп
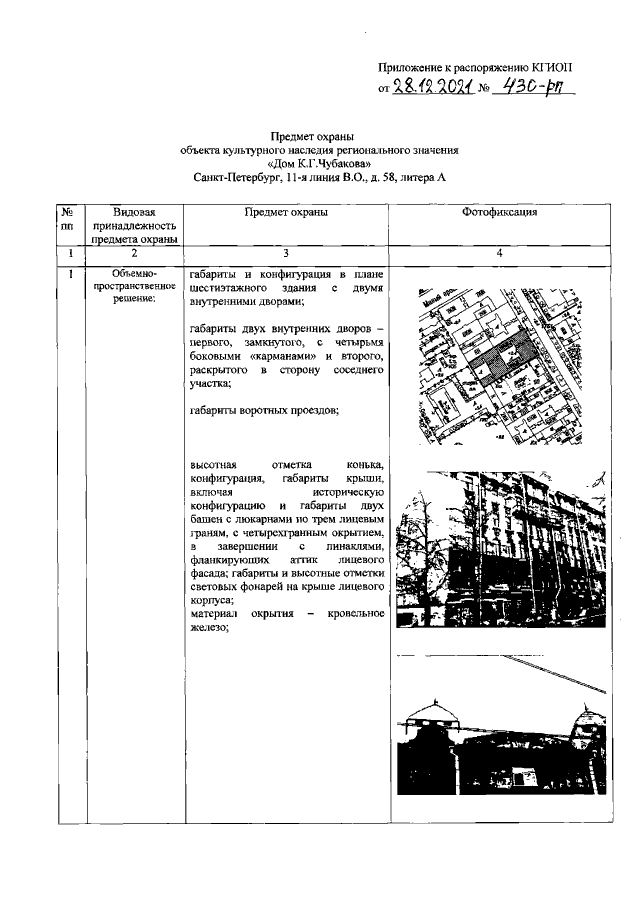
"Об утверждении предмета охраны объекта культурного наследия регионального значения "Дом К.Г. Чубакова"
"Об утверждении предмета охраны объекта культурного наследия регионального значения "Дом К.Г. Чубакова"
Номер опубликования: 7801202201010004
Дата опубликования:
01.01.2022
