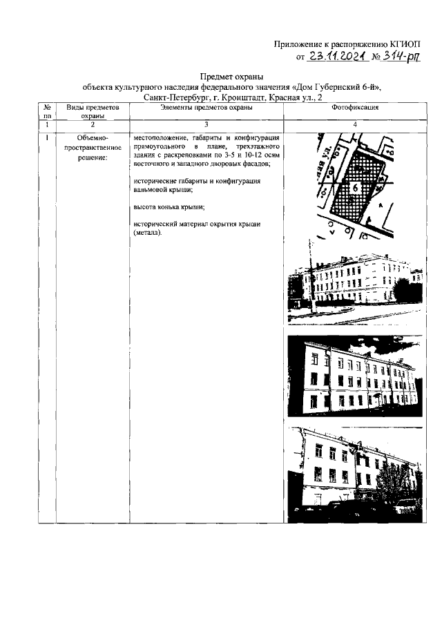
Распоряжение Комитета по государственному контролю, использованию и охране памятников истории и культуры Санкт-Петербурга от 23.11.2021 № 314-рп
"Об утверждении предмета охраны объекта культурного наследия федерального значения "Дом Губернский 6-й"
"Об утверждении предмета охраны объекта культурного наследия федерального значения "Дом Губернский 6-й"
Номер опубликования: 7801202111290011
Дата опубликования:
29.11.2021
