Официальное опубликование правовых актов
ОФИЦИАЛЬНОЕ ОПУБЛИКОВАНИЕ
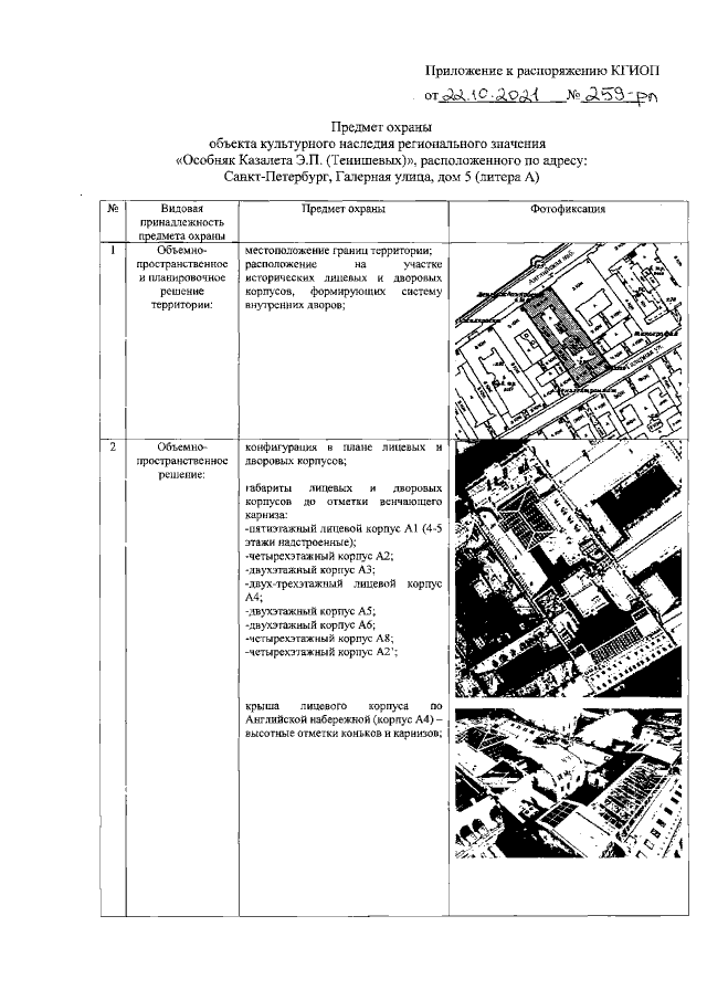
Распоряжение Комитета по государственному контролю, использованию и охране памятников истории и культуры Санкт-Петербурга от 22.10.2021 № 259-рп
"Об утверждении предмета охраны объекта культурного наследия регионального значения "Особняк Казалета Э.П. (Тенишевых)"
Номер опубликования: 7801202110300034
Дата опубликования: 30.10.2021
Страница №2 из 36:
Увеличить