Распоряжение Комитета по государственному контролю, использованию и охране памятников истории и культуры Санкт-Петербурга от 25.10.2021 № 262-рп
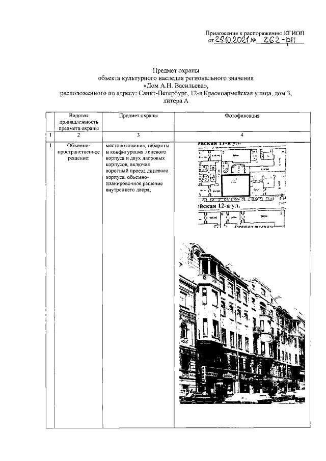
"Об утверждении предмета охраны объекта культурного наследия регионального значения "Дом А.Н. Васильева"
"Об утверждении предмета охраны объекта культурного наследия регионального значения "Дом А.Н. Васильева"
Номер опубликования: 7801202110300028
Дата опубликования:
30.10.2021
