Официальное опубликование правовых актов
ОФИЦИАЛЬНОЕ ОПУБЛИКОВАНИЕ
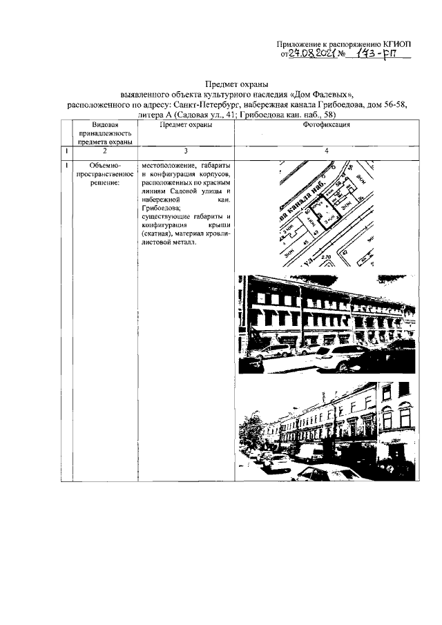
Распоряжение Комитета по государственному контролю, использованию и охране памятников истории и культуры Санкт-Петербурга от 27.08.2021 № 173-рп
"Об утверждении предмета охраны выявленного объекта культурного наследия "Дом Фалевых"
Номер опубликования: 7801202109010003
Дата опубликования: 01.09.2021
Страница №2 из 4:
Увеличить