Официальное опубликование правовых актов
ОФИЦИАЛЬНОЕ ОПУБЛИКОВАНИЕ
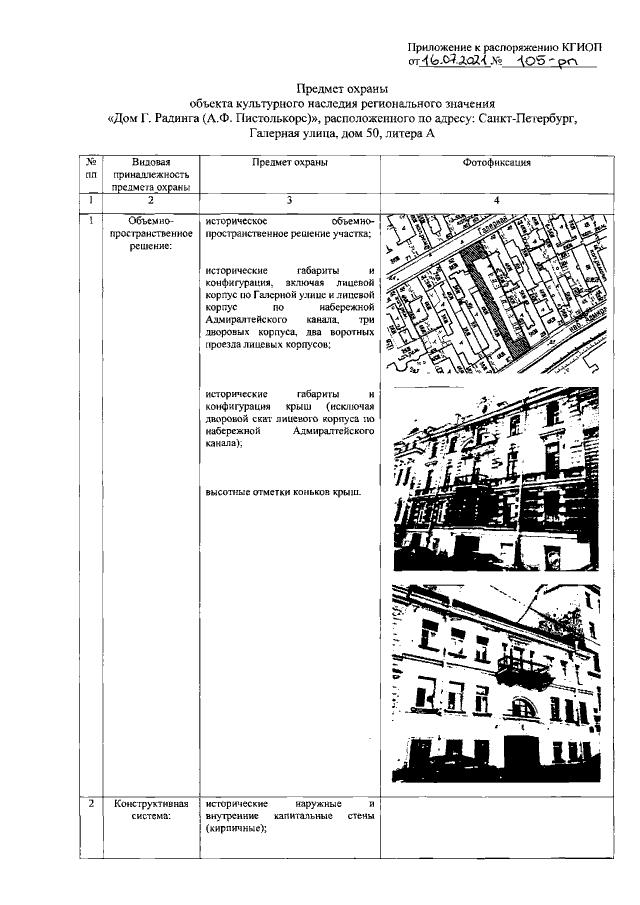
Распоряжение Комитета по государственному контролю, использованию и охране памятников истории и культуры Санкт-Петербурга от 16.07.2021 № 105-рп
"Об утверждении предмета охраны объекта культурного наследия регионального значения "Дом Г. Радинга (А.Ф. Пистолькорс)"
Номер опубликования: 7801202107220012
Дата опубликования: 22.07.2021
Страница №2 из 12:
Увеличить