Официальное опубликование правовых актов
ОФИЦИАЛЬНОЕ ОПУБЛИКОВАНИЕ
Распоряжение Комитета по государственному контролю, использованию и охране памятников истории и культуры Санкт-Петербурга от 15.06.2021 № 50-рп
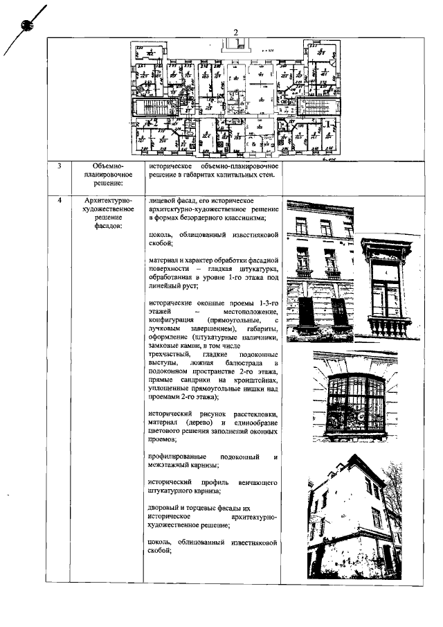
"Об утверждении предмета охраны выявленного объекта культурного наследия "Служебное здание Кавалергардского полка"
Номер опубликования: 7801202106200008
Дата опубликования: 20.06.2021
Страница №3 из 4:
Увеличить