Официальное опубликование правовых актов
ОФИЦИАЛЬНОЕ ОПУБЛИКОВАНИЕ
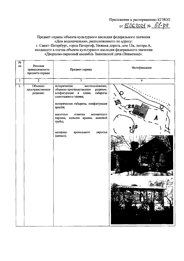
Распоряжение Комитета по государственному контролю, использованию и охране памятников истории и культуры Санкт-Петербурга от 15.06.2021 № 51-рп
"Об утверждении предмета охраны объекта культурного наследия федерального значения "Дом водокачальни"
Номер опубликования: 7801202106200007
Дата опубликования: 20.06.2021
Страница №2 из 5:
Увеличить