Официальное опубликование правовых актов
ОФИЦИАЛЬНОЕ ОПУБЛИКОВАНИЕ
Постановление Правительства Санкт-Петербурга от 24.06.2025 № 455
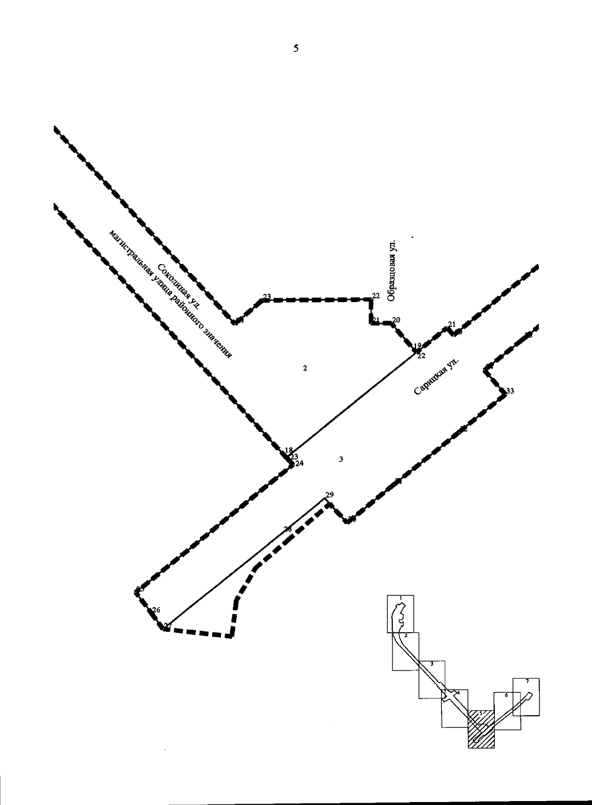
"Об утверждении проекта планировки с проектом межевания территории для размещения линейного объекта регионального значения "Соколиная ул. от Сарицкой ул. до кругового движения на Соколиной ул."
Номер опубликования: 7800202507010001
Дата опубликования: 01.07.2025
Страница №17 из 55:
Увеличить