Официальное опубликование правовых актов
ОФИЦИАЛЬНОЕ ОПУБЛИКОВАНИЕ
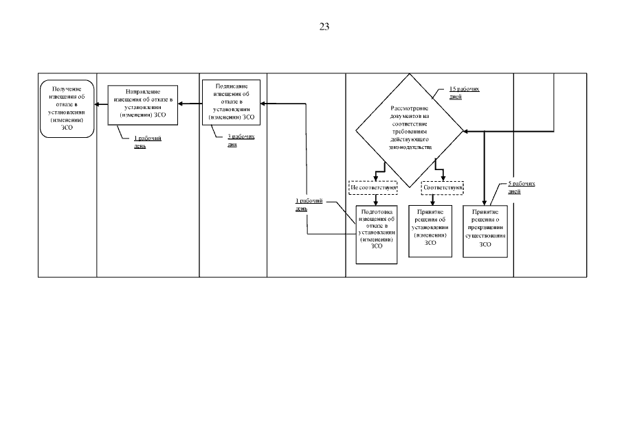
Приказ Департамента охраны окружающей среды и природопользования Ярославской области от 09.04.2019 № 5-н
"О внесении изменений в приказ департамента охраны окружающей среды и природопользования Ярославской области от 25.04.2012 № 46н"
(Зарегистрирован 11.04.2019 № 13-8998)
Номер опубликования: 7601201904120010
Дата опубликования: 12.04.2019
Страница №23 из 27:
Увеличить