Официальное опубликование правовых актов
ОФИЦИАЛЬНОЕ ОПУБЛИКОВАНИЕ
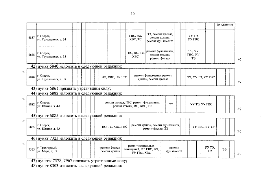
Постановление Правительства Челябинской области от 14.07.2023 № 391-П
"О внесении изменений в постановление Правительства Челябинской области от 21.05.2014 г. № 196-П"
Номер опубликования: 7400202307170006
Дата опубликования: 17.07.2023
Страница №11 из 33:
Увеличить