Официальное опубликование правовых актов
ОФИЦИАЛЬНОЕ ОПУБЛИКОВАНИЕ
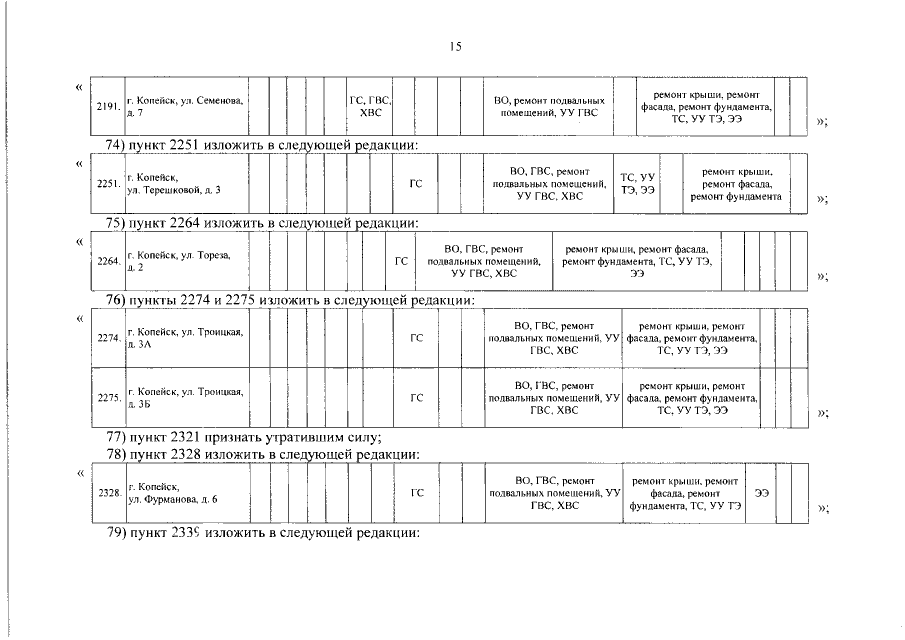
Постановление Правительства Челябинской области от 03.02.2023 № 86-П
"О внесении изменений в постановление Правительства Челябинской области от 21.05.2014 г. № 196-П"
Номер опубликования: 7400202302060005
Дата опубликования: 06.02.2023
Страница №16 из 135:
Увеличить