Официальное опубликование правовых актов
ОФИЦИАЛЬНОЕ ОПУБЛИКОВАНИЕ
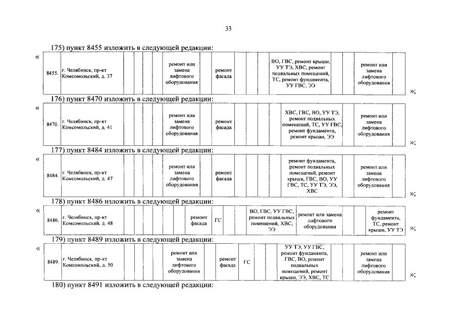
Постановление Правительства Челябинской области от 26.07.2022 № 447-П
"О внесении изменений в постановление Правительства Челябинской области от 21.05.2014 г. № 196-П"
Номер опубликования: 7400202207270001
Дата опубликования: 27.07.2022
Страница №34 из 81:
Увеличить