Приказ Главного управления по государственной охране объектов культурного наследия Тверской области от 26.08.2021 № 62-нп
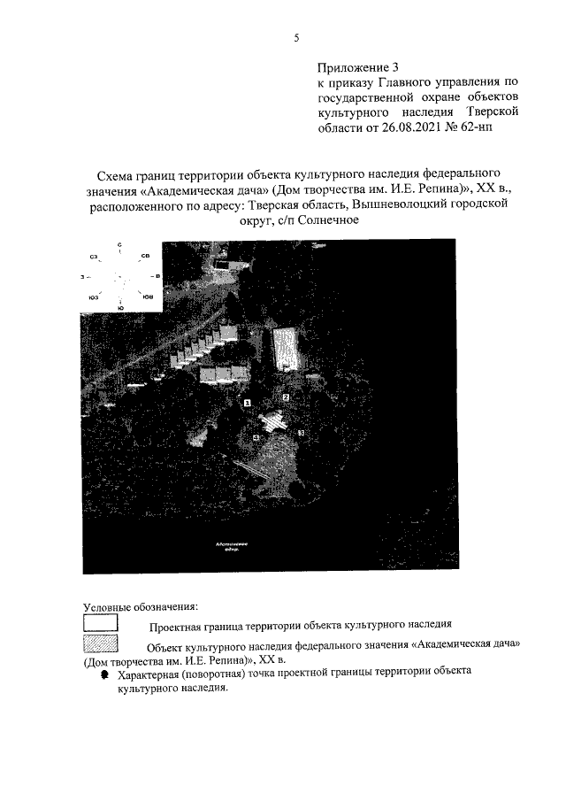
"Об утверждении границ территории объекта культурного наследия федерального значения "Академическая дача" (Дом творчества им. И.Е. Репина)", XX в., расположенного по адресу: Тверская область, Вышневолоцкий городской округ, с/п Солнечное"
"Об утверждении границ территории объекта культурного наследия федерального значения "Академическая дача" (Дом творчества им. И.Е. Репина)", XX в., расположенного по адресу: Тверская область, Вышневолоцкий городской округ, с/п Солнечное"
Номер опубликования: 6901202108290001
Дата опубликования:
29.08.2021
