Официальное опубликование правовых актов
ОФИЦИАЛЬНОЕ ОПУБЛИКОВАНИЕ
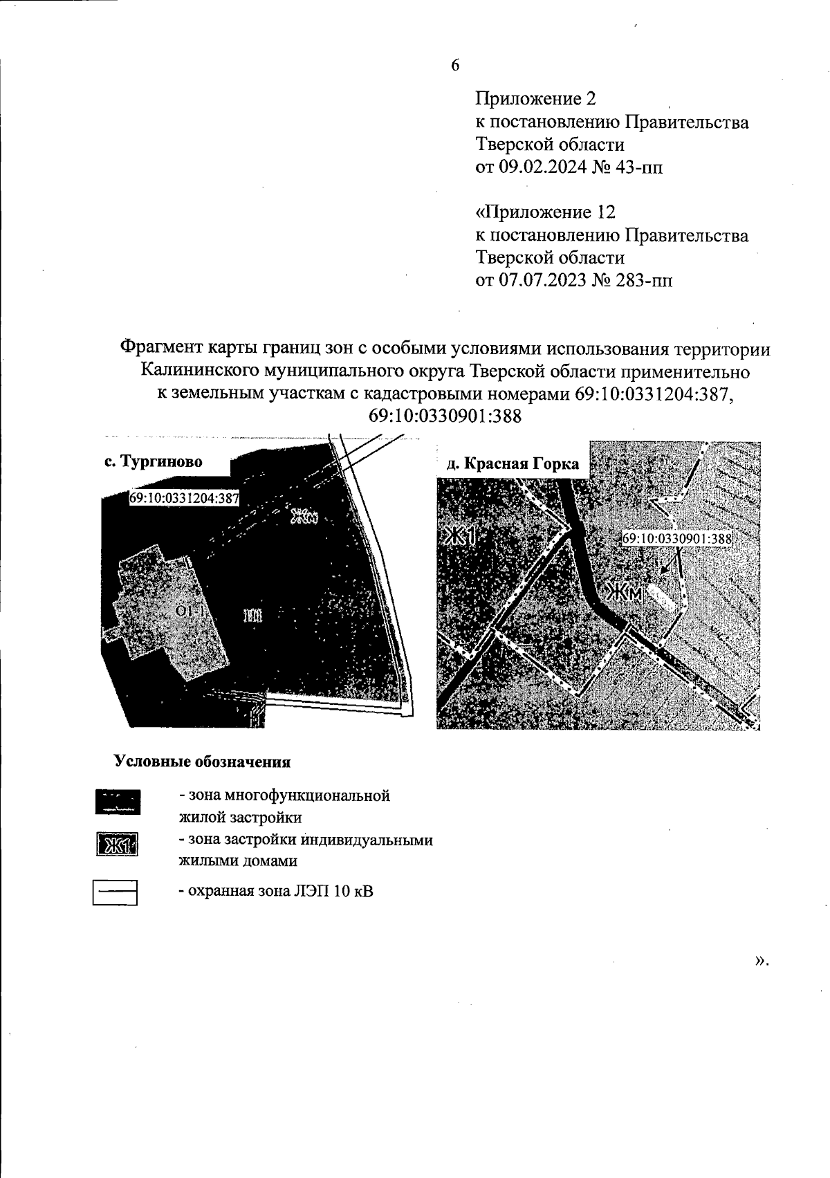
Постановление Правительства Тверской области от 09.02.2024 № 43-пп
"О внесении изменений в постановление Правительства Тверской области от 07.07.2023 № 283-пп"
Номер опубликования: 6900202402120005
Дата опубликования: 12.02.2024
Страница №6 из 6:
Увеличить