Официальное опубликование правовых актов
ОФИЦИАЛЬНОЕ ОПУБЛИКОВАНИЕ
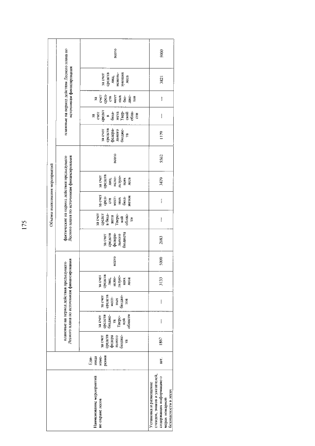
Постановление Губернатора Тверской области от 25.01.2019 № 8-пг
"Об утверждении Лесного плана Тверской области"
Номер опубликования: 6900201901280005
Дата опубликования: 28.01.2019
Страница №175 из 266:
Увеличить