Официальное опубликование правовых актов
ОФИЦИАЛЬНОЕ ОПУБЛИКОВАНИЕ
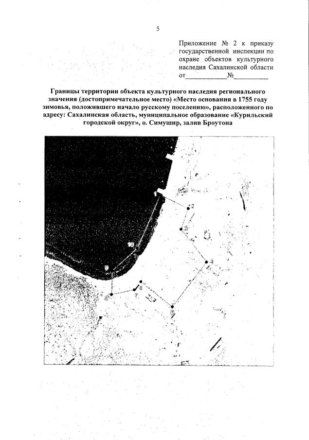
Приказ Государственной инспекции по охране объектов культурного наследия Сахалинской области от 31.01.2023 № 3.42-7
"Об утверждении предмета охраны, границ и требований к осуществляемой деятельности и градостроительным регламентам в границах объекта культурного наследия регионального значения (достопримечательное место) "Место основания в 1755 году зимовья, положившего начало русскому поселению", расположенного по адресу: Сахалинская область, муниципальное образование "Курильский городской округ", о. Симушир, залив Броутона"
Номер опубликования: 6501202302070005
Дата опубликования: 07.02.2023
Страница №5 из 10:
Увеличить