Официальное опубликование правовых актов
ОФИЦИАЛЬНОЕ ОПУБЛИКОВАНИЕ
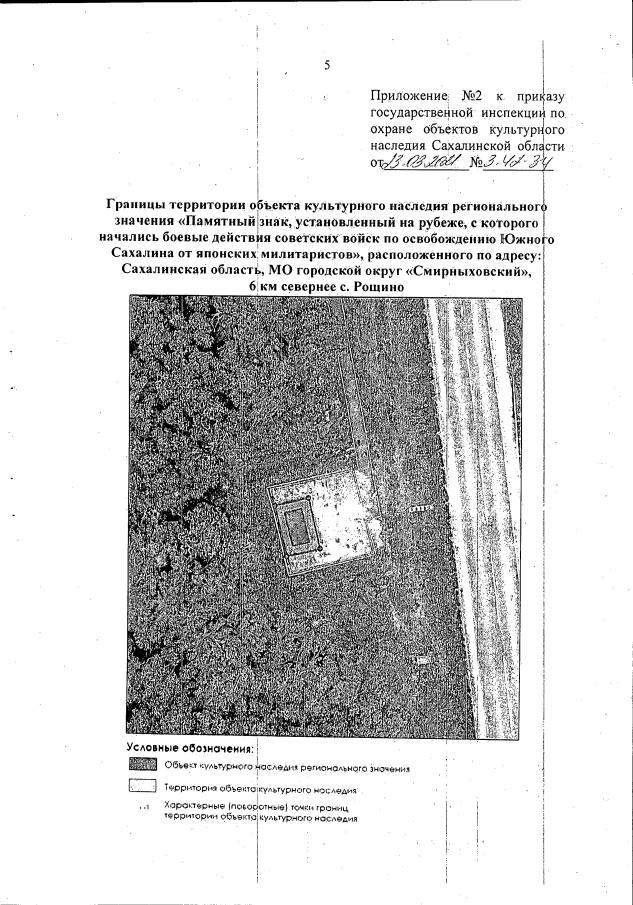
Приказ Государственной инспекции по охране объектов культурного наследия Сахалинской области от 23.03.2021 № 3.42-34
"Об установлении зон охраны, утверждении предмета охраны, границ и режимов использования земель в границах объекта культурного наследия регионального значения "Памятный знак, установленный на рубеже, с которого начались боевые действия советских войск по освобождению Южного Сахалина от японских милитаристов", расположенного по адресу: Сахалинская область, МО городской округ "Смирныховский", 6 км севернее с. Рощино"
Номер опубликования: 6501202103250001
Дата опубликования: 25.03.2021
Страница №5 из 12:
Увеличить