Приказ Государственной инспекции по охране объектов культурного наследия Сахалинской области от 12.10.2020 № 3.42-99
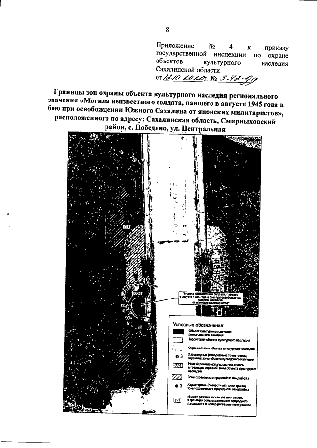
"Об установлении зон охраны, утверждении предмета охраны, границ и режимов использования земель в границах объекта культурного наследия регионального значения "Могила неизвестного солдата, павшего в августе 1945 года в бою при освобождении Южного Сахалина от японских милитаристов", расположенного по адресу: Сахалинская область, Смирныховский район, с. Победино, ул. Центральная"
"Об установлении зон охраны, утверждении предмета охраны, границ и режимов использования земель в границах объекта культурного наследия регионального значения "Могила неизвестного солдата, павшего в августе 1945 года в бою при освобождении Южного Сахалина от японских милитаристов", расположенного по адресу: Сахалинская область, Смирныховский район, с. Победино, ул. Центральная"
Номер опубликования: 6501202010160009
Дата опубликования:
16.10.2020
