Официальное опубликование правовых актов
ОФИЦИАЛЬНОЕ ОПУБЛИКОВАНИЕ
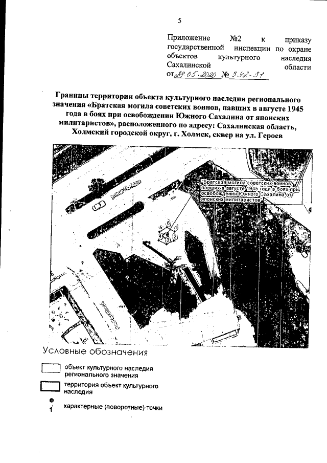
Приказ Государственной инспекции по охране объектов культурного наследия Сахалинской области от 28.05.2020 № 3.42-31
"Об установлении зон охраны, утверждении предмета охраны, границ и режима использования объекта культурного наследия регионального значения "Братская могила советских воинов, павших в августе 1945 года в боях при освобождении Южного Сахалина от японских милитаристов", расположенного по адресу: Сахалинская область, Холмский городской округ, г. Холмск, сквер на ул. Героев"
Номер опубликования: 6501202006040007
Дата опубликования: 04.06.2020
Страница №5 из 13:
Увеличить