Официальное опубликование правовых актов
ОФИЦИАЛЬНОЕ ОПУБЛИКОВАНИЕ
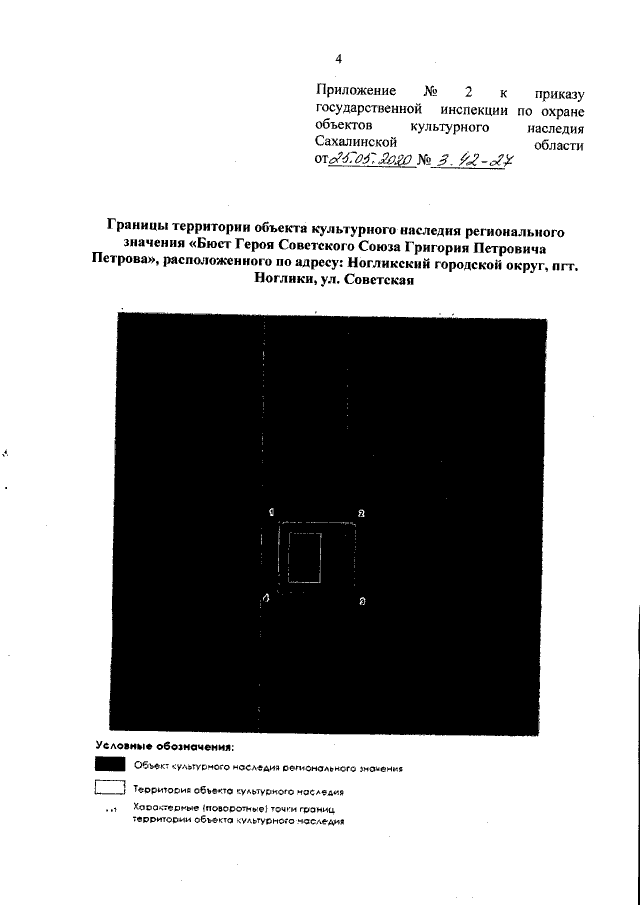
Приказ Государственной инспекции по охране объектов культурного наследия Сахалинской области от 25.05.2020 № 3.42-27
"Об утверждении предмета охраны, границ и режима использования территории объекта культурного наследия регионального значения "Бюст Героя Советского Союза Григория Петровича Петрова", расположенного по адресу: Ногликский городской округ, пгт. Ноглики, ул. Советская"
Номер опубликования: 6501202005280001
Дата опубликования: 28.05.2020
Страница №4 из 7:
Увеличить