Официальное опубликование правовых актов
ОФИЦИАЛЬНОЕ ОПУБЛИКОВАНИЕ
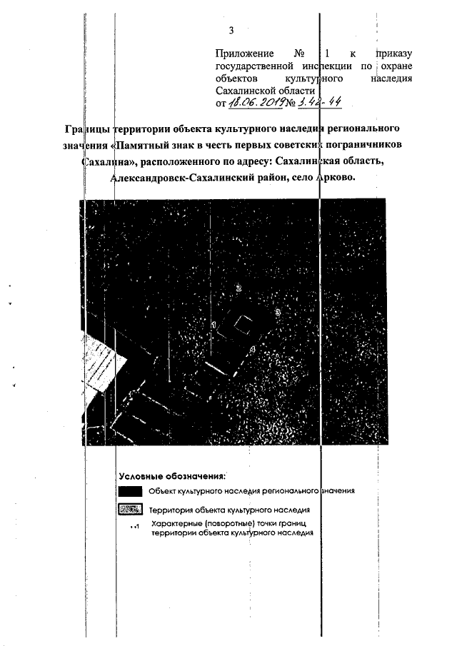
Приказ Государственной инспекции по охране объектов культурного наследия Сахалинской области от 18.06.2019 № 3.42-44
"Об утверждении границ и режима использования территории объекта культурного наследия регионального значения "Памятный знак в честь первых советских пограничников Сахалина", расположенного по адресу: Сахалинская область, Александровск-Сахалинский район, село Арково."
Номер опубликования: 6501201906190002
Дата опубликования: 19.06.2019
Страница №3 из 6:
Увеличить