Официальное опубликование правовых актов
ОФИЦИАЛЬНОЕ ОПУБЛИКОВАНИЕ
Приказ Государственной инспекции по охране объектов культурного наследия Сахалинской области от 05.06.2019 № 3.42-43
"Об утверждении предмета охраны объекта культурного наследия регионального значения "Здание банка 1928 г.", расположенного по адресу: Сахалинская область, г. Корсаков, ул. Советская, 3"
Номер опубликования: 6501201906070001
Дата опубликования: 07.06.2019
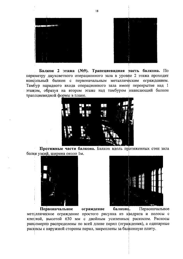
Страница №18 из 26:
Увеличить