Постановление Правительства Сахалинской области от 24.12.2024 № 473
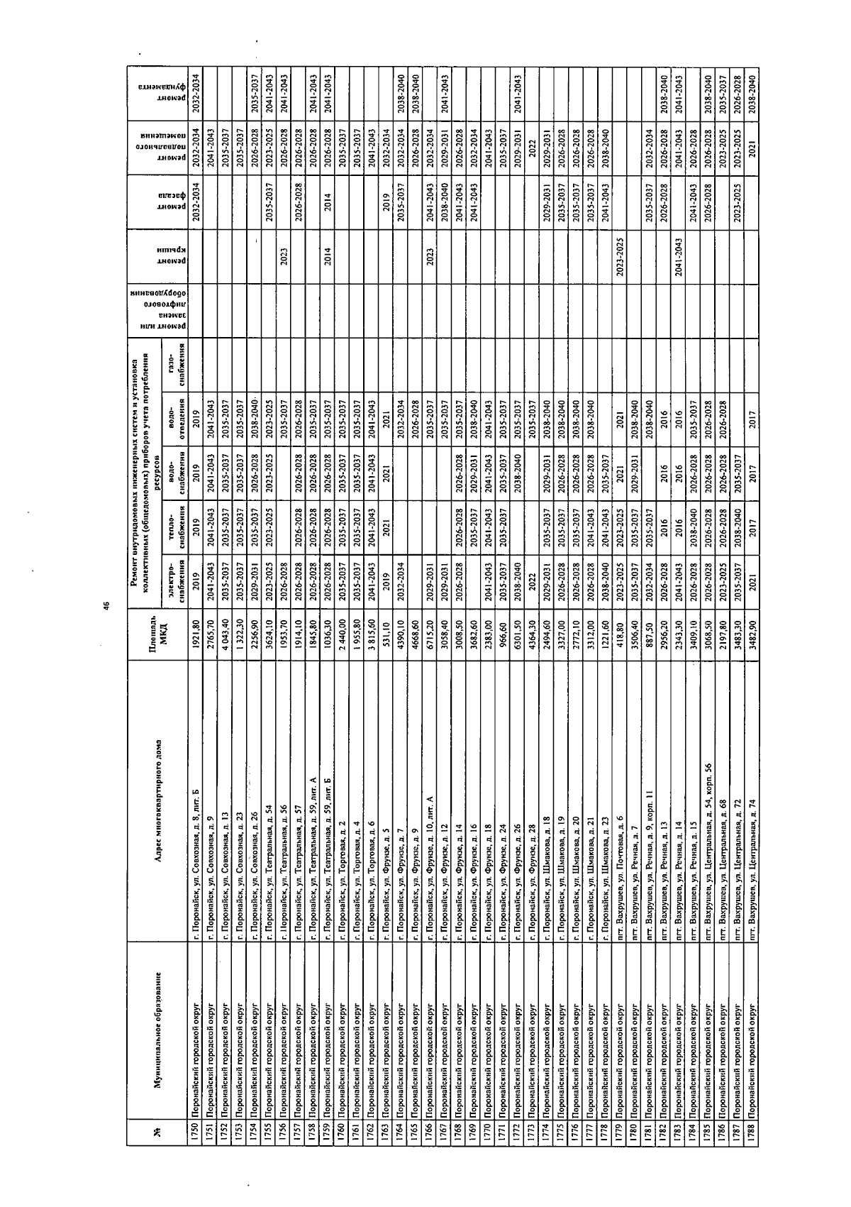
"О внесении изменений в региональную программу "Капитальный ремонт общего имущества в многоквартирных домах, расположенных на территории Сахалинской области, на 2014 - 2043 годы", утвержденную постановлением Правительства Сахалинской области от 28.04.2014 № 199"
"О внесении изменений в региональную программу "Капитальный ремонт общего имущества в многоквартирных домах, расположенных на территории Сахалинской области, на 2014 - 2043 годы", утвержденную постановлением Правительства Сахалинской области от 28.04.2014 № 199"
Номер опубликования: 6500202412310028
Дата опубликования:
31.12.2024
