Официальное опубликование правовых актов
ОФИЦИАЛЬНОЕ ОПУБЛИКОВАНИЕ
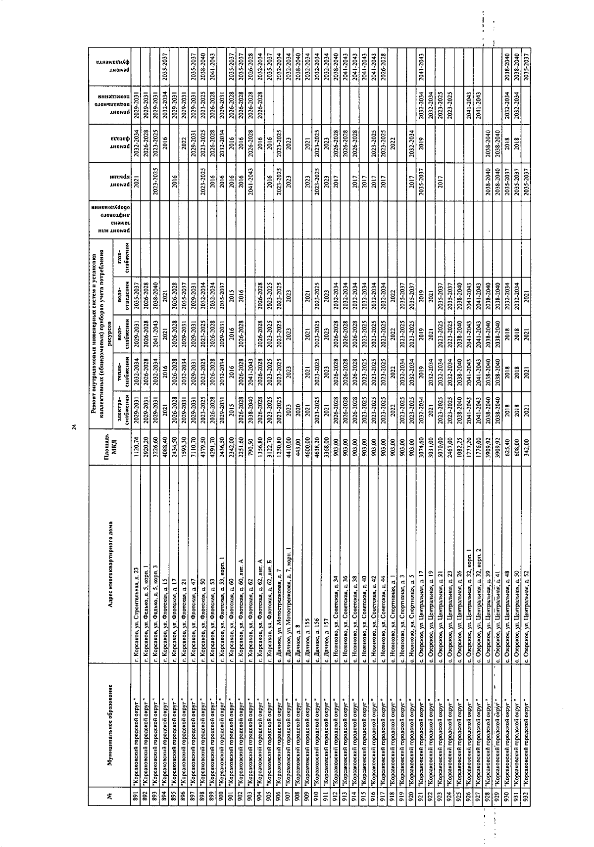
Постановление Правительства Сахалинской области от 24.12.2024 № 473
"О внесении изменений в региональную программу "Капитальный ремонт общего имущества в многоквартирных домах, расположенных на территории Сахалинской области, на 2014 - 2043 годы", утвержденную постановлением Правительства Сахалинской области от 28.04.2014 № 199"
Номер опубликования: 6500202412310028
Дата опубликования: 31.12.2024
Страница №28 из 142:
Увеличить