Официальное опубликование правовых актов
ОФИЦИАЛЬНОЕ ОПУБЛИКОВАНИЕ
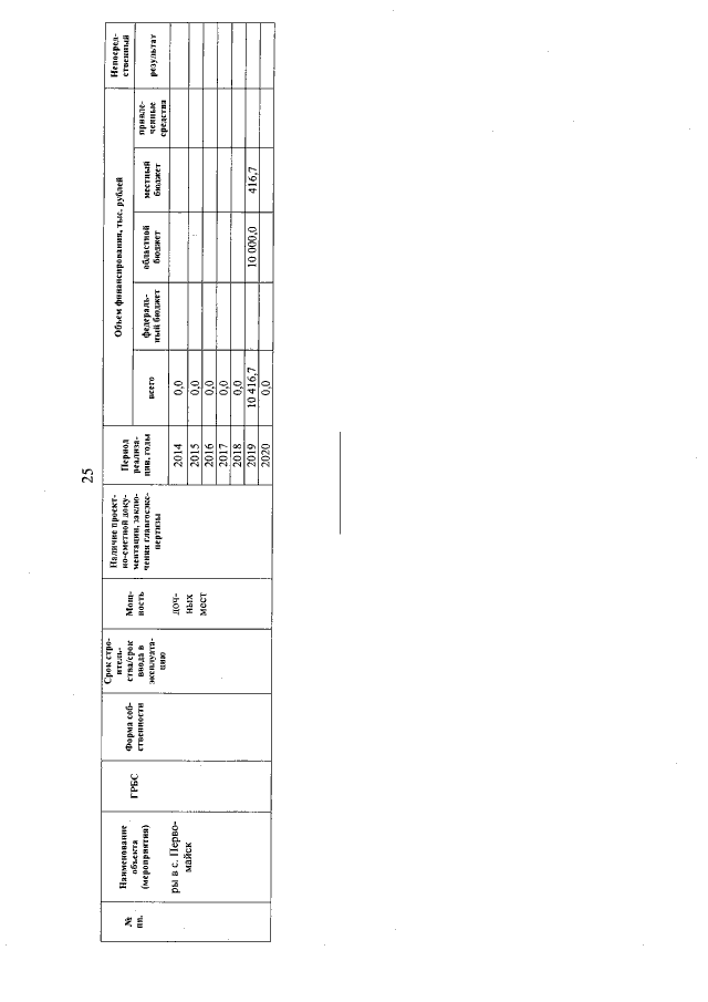
Постановление Правительства Сахалинской области от 05.07.2019 № 283
"О внесении изменений в государственную программу "Развитие сферы культуры в Сахалинской области", утвержденную постановлением Правительства Сахалинской области от 31.07.2013 № 394"
Номер опубликования: 6500201907080001
Дата опубликования: 08.07.2019
Страница №57 из 181:
Увеличить