Официальное опубликование правовых актов
ОФИЦИАЛЬНОЕ ОПУБЛИКОВАНИЕ
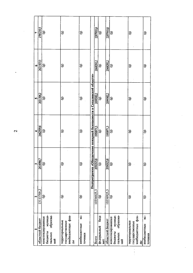
Постановление Правительства Сахалинской области от 01.03.2019 № 95
"О внесении изменений в государственную программу Сахалинской области "Защита населения и территории Сахалинской области от чрезвычайных ситуаций природного и техногенного характера, обеспечение пожарной безопасности и безопасности людей на водных объектах", утвержденную постановлением Правительства Сахалинской области от 23.07.2013 № 366"
Номер опубликования: 6500201903060001
Дата опубликования: 06.03.2019
Страница №58 из 59:
Увеличить