Официальное опубликование правовых актов
ОФИЦИАЛЬНОЕ ОПУБЛИКОВАНИЕ
Постановление Правительства Сахалинской области от 28.12.2018 № 660
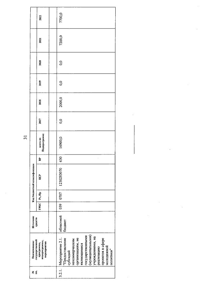
"О внесении изменений в государственную программу Сахалинской области "Развитие физической культуры, спорта и повышение эффективности молодежной политики в Сахалинской области на 2017 - 2022 годы"
Номер опубликования: 6500201901040017
Дата опубликования: 04.01.2019
Страница №78 из 83:
Увеличить