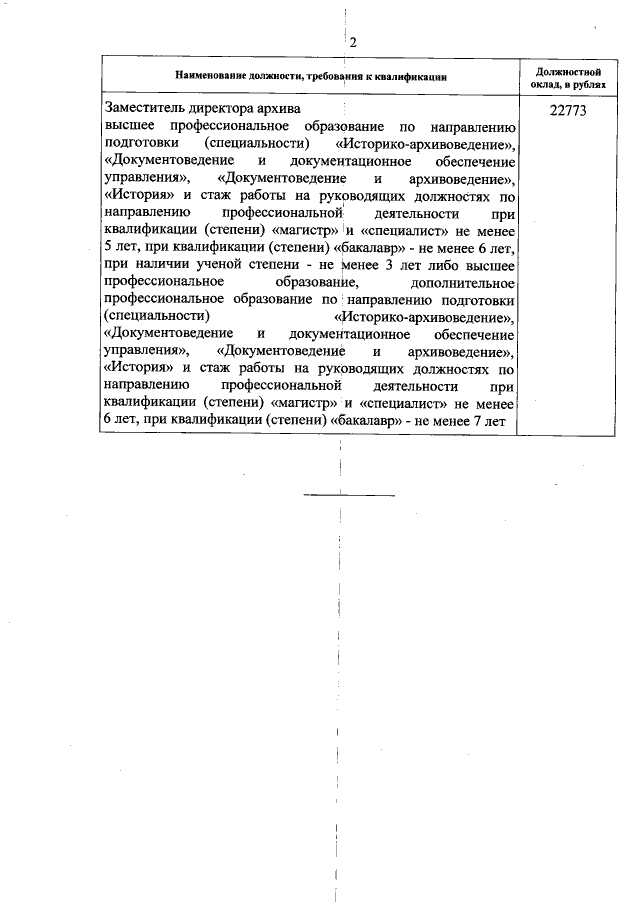
Постановление Правительства Сахалинской области от 15.03.2018 № 89
"О системе оплаты труда работников архивных учреждений, подведомственных министерству культуры и архивного дела Сахалинской области"
"О системе оплаты труда работников архивных учреждений, подведомственных министерству культуры и архивного дела Сахалинской области"
Номер опубликования: 6500201803190002
Дата опубликования:
19.03.2018
