Официальное опубликование правовых актов
ОФИЦИАЛЬНОЕ ОПУБЛИКОВАНИЕ
Приказ Комитета культурного наследия Саратовской области от 02.08.2024 № 01-04/176
"Об утверждении предмета охраны объекта культурного наследия регионального значения, расположенного по адресу: Саратовская область, г. Балаково, ул. Коммунистическая, 29"
(Зарегистрирован 05.08.2024 № 25-2024-1-1169)
Номер опубликования: 6401202408070015
Дата опубликования: 07.08.2024
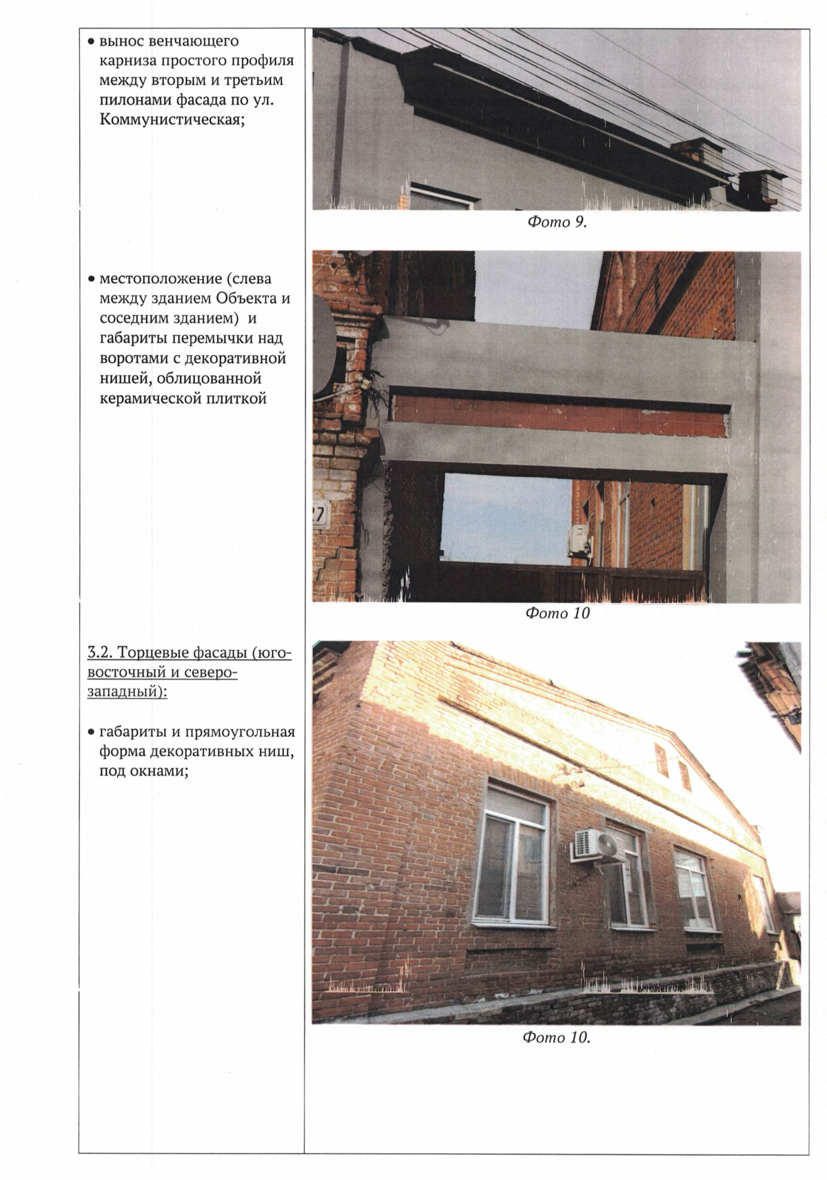
Страница №5 из 6:
Увеличить