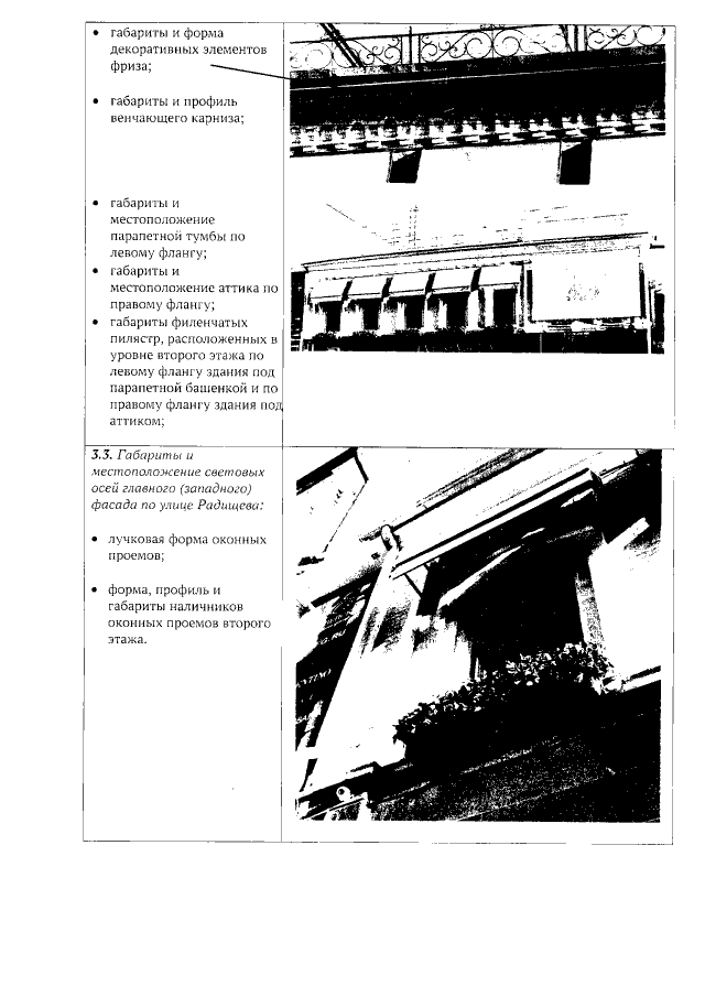
Приказ Комитета культурного наследия Саратовской области от 15.05.2023 № 01-04/211
"Об утверждении предмета охраны объекта культурного наследия регионального значения, расположенного по адресу: Саратовская область, г. Саратов, ул. Радищева, 18"
(Зарегистрирован 16.05.2023 № 25-2023-1-639)
"Об утверждении предмета охраны объекта культурного наследия регионального значения, расположенного по адресу: Саратовская область, г. Саратов, ул. Радищева, 18"
(Зарегистрирован 16.05.2023 № 25-2023-1-639)
Номер опубликования: 6401202305230003
Дата опубликования:
23.05.2023
