Приказ Комитета культурного наследия Саратовской области от 13.01.2023 № 01-04/16
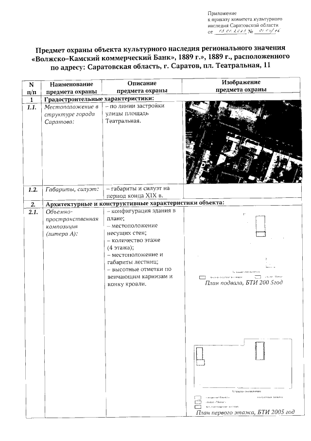
"Об утверждении предмета охраны объекта культурного наследия регионального значения, расположенного по адресу: Саратовская область, г. Саратов, пл. Театральная, 11"
"Об утверждении предмета охраны объекта культурного наследия регионального значения, расположенного по адресу: Саратовская область, г. Саратов, пл. Театральная, 11"
Номер опубликования: 6401202301200004
Дата опубликования:
20.01.2023
