Официальное опубликование правовых актов
ОФИЦИАЛЬНОЕ ОПУБЛИКОВАНИЕ
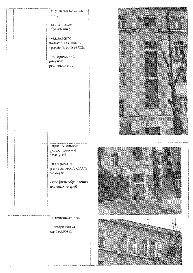
Приказ Управления по охране объектов культурного наследия Саратовской области от 26.07.2021 № 01-04/267
"Об утверждении предмета охраны объекта культурного наследия регионального значения, расположенного по адресу: Саратовская область, г. Саратов, ул. Волжская, 34"
Номер опубликования: 6401202108020010
Дата опубликования: 02.08.2021
Страница №8 из 9:
Увеличить