Официальное опубликование правовых актов
ОФИЦИАЛЬНОЕ ОПУБЛИКОВАНИЕ
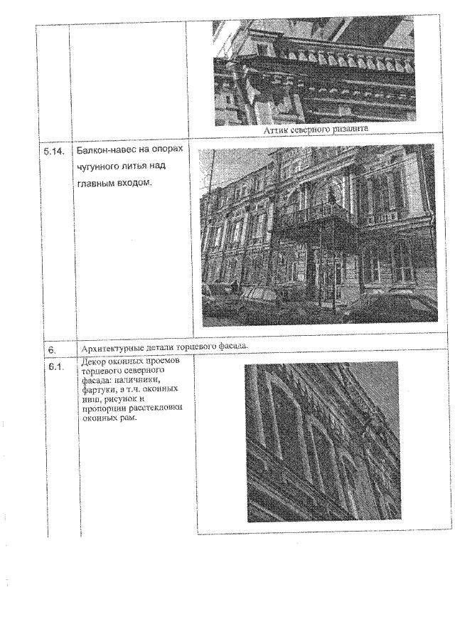
Приказ Управления по охране объектов культурного наследия Саратовской области от 04.06.2020 № 01-04/214
"Об утверждении предмета охраны объекта культурного наследия регионального значения, расположенного по адресу: г. Саратов, ул. Соборная, 33."
Номер опубликования: 6401202006110029
Дата опубликования: 11.06.2020
Страница №10 из 14:
Увеличить