Официальное опубликование правовых актов
ОФИЦИАЛЬНОЕ ОПУБЛИКОВАНИЕ
Приказ Управления по охране объектов культурного наследия Саратовской области от 14.05.2020 № 01-04/197
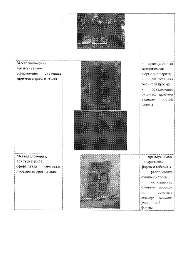
"О включении выявленного объекта культурного наследия по адресу: Саратовская область, г. Саратов, ул. Комсомольская, 20, в единый государственный реестр объектов культурного наследия (памятников истории и культуры) народов Российской Федерации в категории объекта культурного наследия регионального значения, утверждении границ территории и предмета охраны"
Номер опубликования: 6401202005220001
Дата опубликования: 22.05.2020
Страница №7 из 8:
Увеличить