Приказ Государственной инспекции по охране объектов культурного наследия Пермского края от 03.09.2018 № СЭД-55-01-05-449
"Об утверждении охранного обязательства собственника или иного законного владельца объекта культурного наследия федерального значения "Усть-Громотуха I, поселение"
"Об утверждении охранного обязательства собственника или иного законного владельца объекта культурного наследия федерального значения "Усть-Громотуха I, поселение"
Номер опубликования: 5901201809100002
Дата опубликования:
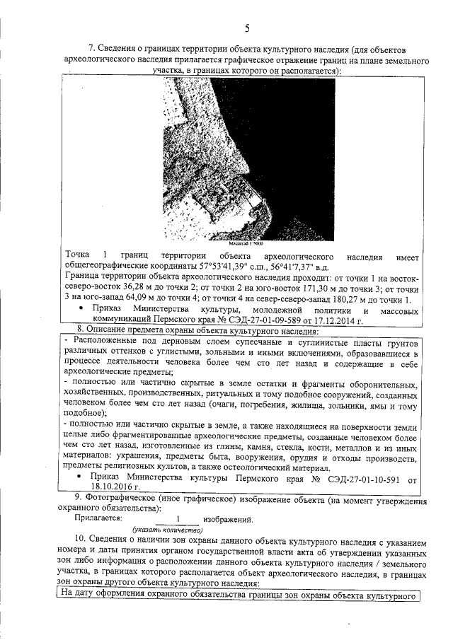
10.09.2018
