Официальное опубликование правовых актов
ОФИЦИАЛЬНОЕ ОПУБЛИКОВАНИЕ
Приказ Государственной инспекции по охране объектов культурного наследия Пермского края от 02.07.2018 № СЭД-55-01-05-348
"Об утверждении охранного обязательства собственника или иного законного владельца объекта культурного наследия федерального значения "Бархатово I, поселение"
Номер опубликования: 5901201807050006
Дата опубликования: 05.07.2018
Страница №5 из 12:
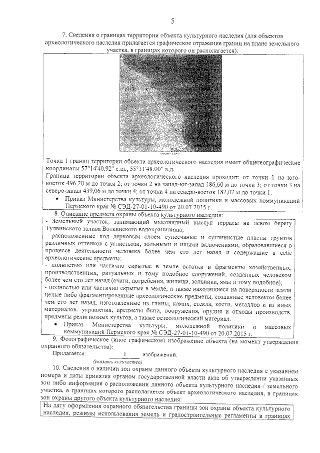
Увеличить