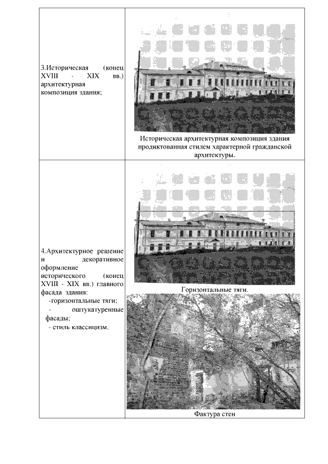
Приказ Департамента Пензенской области по охране памятников истории и культуры от 29.12.2022 № 334-ОД
"Об утверждении предмета охраны объекта культурного наследия регионального значения "Главный дом усадьбы" (Пензенская область, Пензенский район, с. Загоскино)"
"Об утверждении предмета охраны объекта культурного наследия регионального значения "Главный дом усадьбы" (Пензенская область, Пензенский район, с. Загоскино)"
Номер опубликования: 5801202212290001
Дата опубликования:
29.12.2022
