Официальное опубликование правовых актов
ОФИЦИАЛЬНОЕ ОПУБЛИКОВАНИЕ
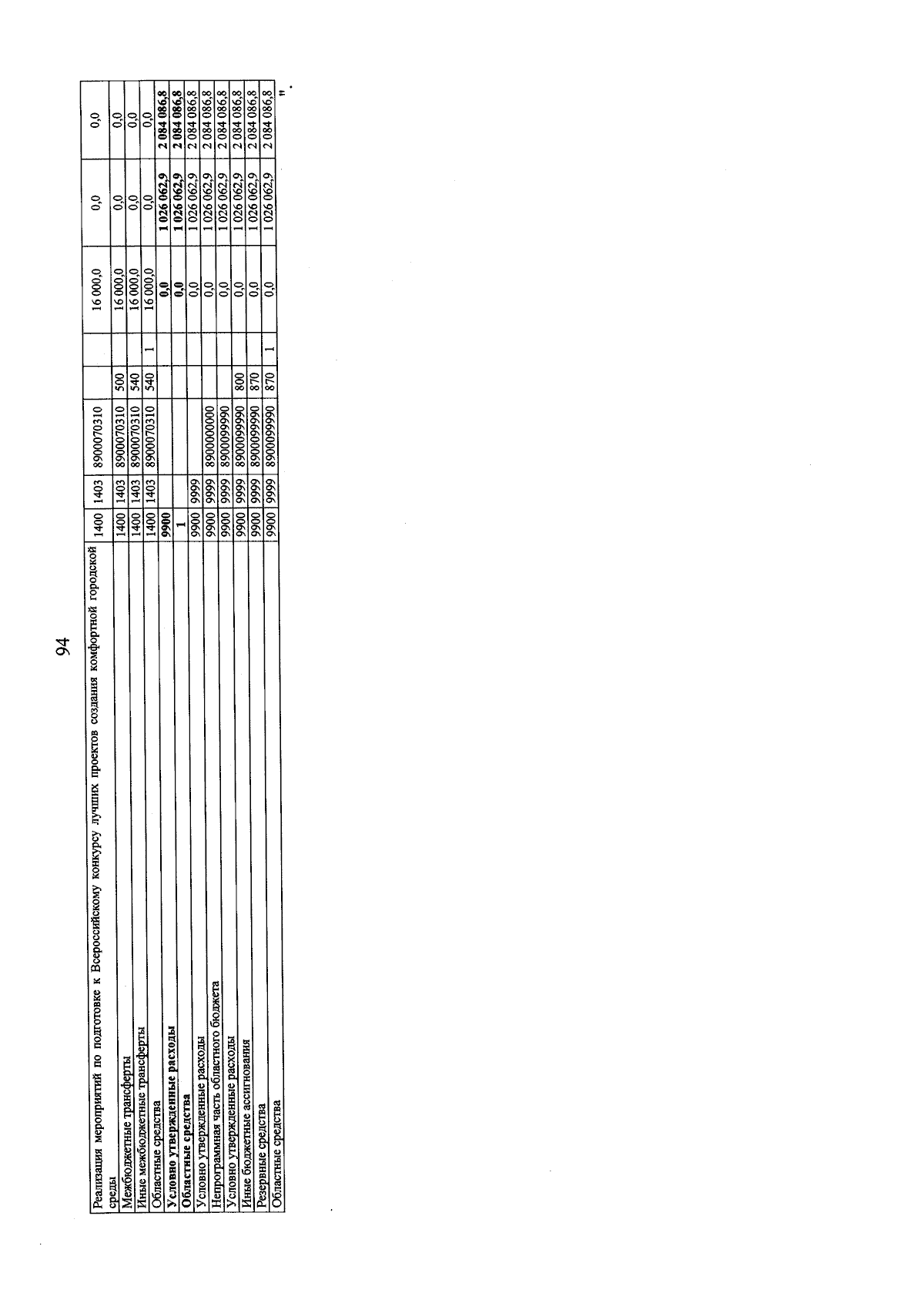
Закон Орловской области от 01.10.2024 № 3102-ОЗ
"О внесении изменений в Закон Орловской области "Об областном бюджете на 2024 год и на плановый период 2025 и 2026 годов"
Номер опубликования: 5700202410020008
Дата опубликования: 02.10.2024
Страница №106 из 322:
Увеличить