Официальное опубликование правовых актов
ОФИЦИАЛЬНОЕ ОПУБЛИКОВАНИЕ
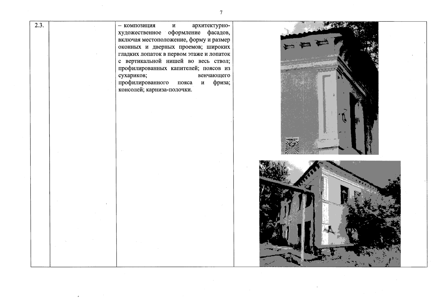
Приказ Инспекции государственной охраны объектов культурного наследия Оренбургской области от 23.09.2025 № 01-33-119
"О включении выявленного объекта культурного наследия в единый государственный реестр объектов культурного наследия (памятников истории и культуры) народов Российской Федерации в качестве объекта культурного наследия регионального значения (вид – памятник) "Здание торговых рядов Толкучего рынка", конец 1860-х гг. (Оренбургская область, город Оренбург, улица Кирова, дом 11Б), об утверждении предмета охраны, границ и режима использования территории объекта культурного наследия"
(Зарегистрирован 23.09.2025 № 0115/2025/22)
Номер опубликования: 5601202509290005
Дата опубликования: 29.09.2025
Страница №7 из 12: