Официальное опубликование правовых актов
ОФИЦИАЛЬНОЕ ОПУБЛИКОВАНИЕ
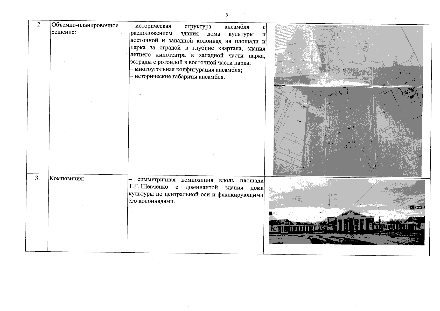
Приказ Инспекции государственной охраны объектов культурного наследия Оренбургской области от 16.06.2025 № 01-33-48
"О включении выявленного объекта культурного наследия в единый государственный реестр объектов культурного наследия (памятников истории и культуры) народов Российской Федерации в качестве объекта культурного наследия регионального значения (вид – ансамбль) "Дом культуры машиностроителей", 1950-1960-е годы, 2013 год, (Оренбургская область, город Орск, улица Краматорская, дом 35, дом 35А, дом 35Б (Литеры Е, Е1В1, Е2Е7, Е3Е4Е5Е6), об утверждении предмета охраны, границ и режима использования территории объекта культурного наследия"
(Зарегистрирован 17.06.2025 № 0065/2025/22)
Номер опубликования: 5601202506180007
Дата опубликования: 18.06.2025
Страница №5 из 49:
Увеличить