Приказ Инспекции государственной охраны объектов культурного наследия Оренбургской области от 16.06.2025 № 01-33-50
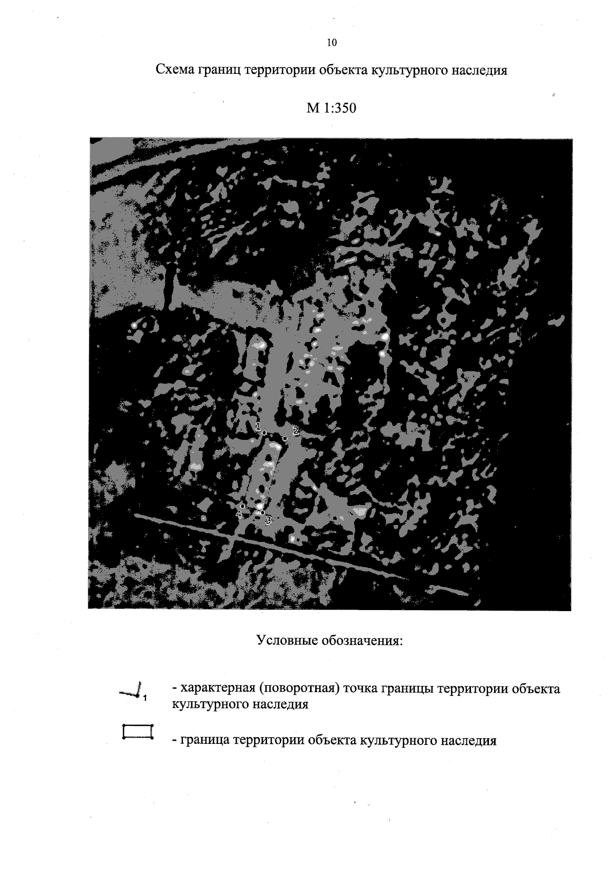
"О включении выявленного объекта культурного наследия в единый государственный реестр объектов культурного наследия (памятников истории и культуры) народов Российской Федерации в качестве объекта культурного наследия регионального значения (вид – памятник) "Могила полного кавалера ордена Славы, гвардии ефрейтора, Ткаченко Александра Платоновича (1917-1978)", 1946 год; 1978 год (Оренбургская область, Бузулукский район, Троицкий сельсовет, поселок Боровский (нежилой), сельское кладбище), об утверждении предмета охраны, границ и режима использования территории объекта культурного наследия"
(Зарегистрирован 17.06.2025 № 0067/2025/22)
"О включении выявленного объекта культурного наследия в единый государственный реестр объектов культурного наследия (памятников истории и культуры) народов Российской Федерации в качестве объекта культурного наследия регионального значения (вид – памятник) "Могила полного кавалера ордена Славы, гвардии ефрейтора, Ткаченко Александра Платоновича (1917-1978)", 1946 год; 1978 год (Оренбургская область, Бузулукский район, Троицкий сельсовет, поселок Боровский (нежилой), сельское кладбище), об утверждении предмета охраны, границ и режима использования территории объекта культурного наследия"
(Зарегистрирован 17.06.2025 № 0067/2025/22)
Номер опубликования: 5601202506180004
Дата опубликования:
18.06.2025
