Приказ Инспекции государственной охраны объектов культурного наследия Оренбургской области от 20.12.2024 № 01-08-556
"О включении выявленного объекта культурного наследия в единый государственный реестр объектов культурного наследия (памятников истории и культуры) народов Российской Федерации в качестве объекта культурного наследия регионального значения (вид – памятник) "Гостиница "Урал", 1959 год (Оренбургская область, город Орск, проспект Мира, дом 9), об утверждении предмета охраны, границ и режима использования территории объекта культурного наследия"
(Зарегистрирован 20.12.2024 № 0224/2024/22)
"О включении выявленного объекта культурного наследия в единый государственный реестр объектов культурного наследия (памятников истории и культуры) народов Российской Федерации в качестве объекта культурного наследия регионального значения (вид – памятник) "Гостиница "Урал", 1959 год (Оренбургская область, город Орск, проспект Мира, дом 9), об утверждении предмета охраны, границ и режима использования территории объекта культурного наследия"
(Зарегистрирован 20.12.2024 № 0224/2024/22)
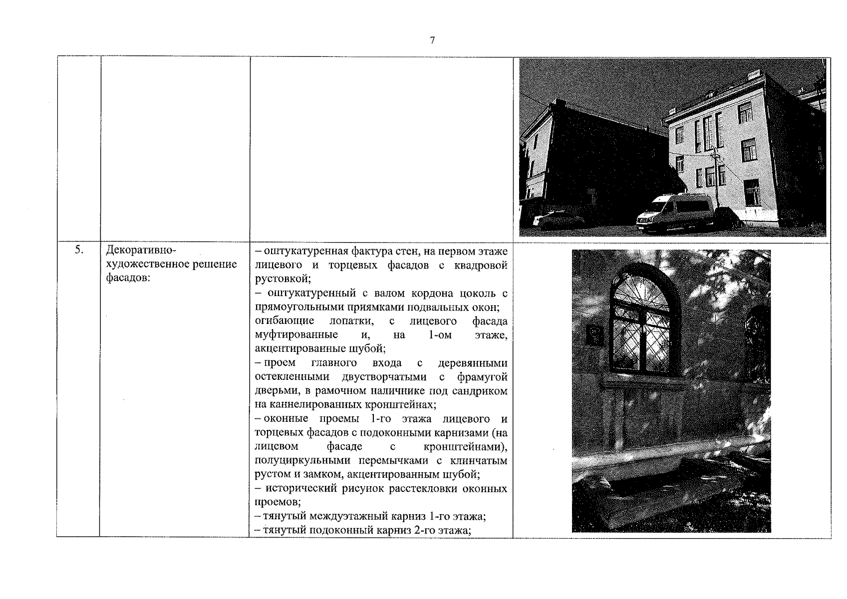
Номер опубликования: 5601202412200033
Дата опубликования:
20.12.2024
