Официальное опубликование правовых актов
ОФИЦИАЛЬНОЕ ОПУБЛИКОВАНИЕ
Приказ Инспекции государственной охраны объектов культурного наследия Оренбургской области от 26.07.2024 № 01-08-334
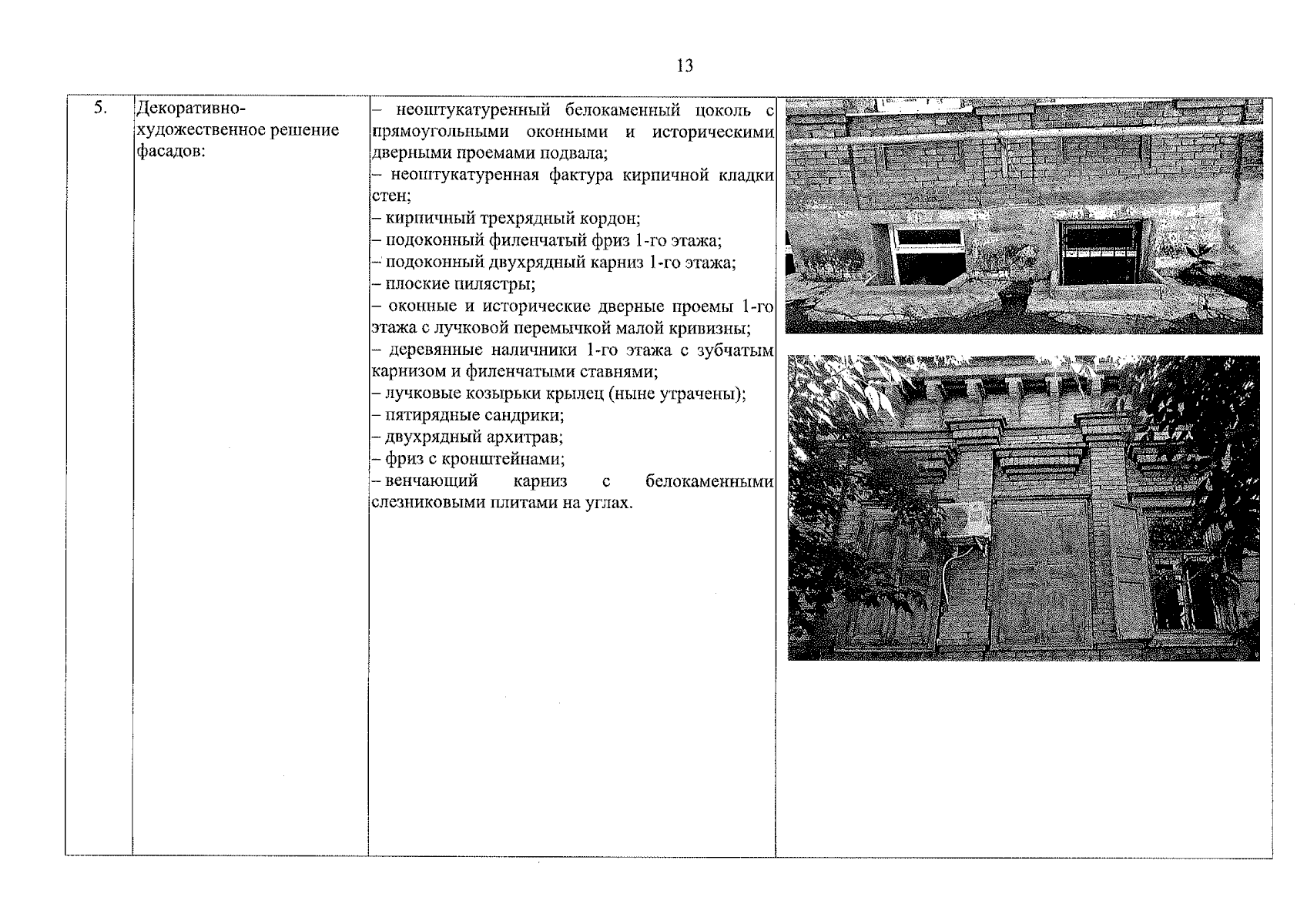
"О включении выявленного объекта культурного наследия в единый государственный реестр объектов культурного наследия (памятников истории и культуры) народов Российской Федерации в качестве объекта культурного наследия регионального значения (вид – ансамбль) "Городская усадьба с пекарней купцов Ишковых", 1895-1901 годы, (Оренбургская обл., г. Оренбург, ул. Яицкая, 39 / ул. Чернореченская, 39-41 / ул. Пионерская, 10), об утверждении предметов охраны, границ и режима использования территории объекта культурного наследия"
(Зарегистрирован 26.07.2024 № 0159/2024/22)
Номер опубликования: 5601202407310001
Дата опубликования: 31.07.2024
Страница №13 из 27:
Увеличить