Приказ Инспекции государственной охраны объектов культурного наследия Оренбургской области от 29.02.2024 № 01-08-103
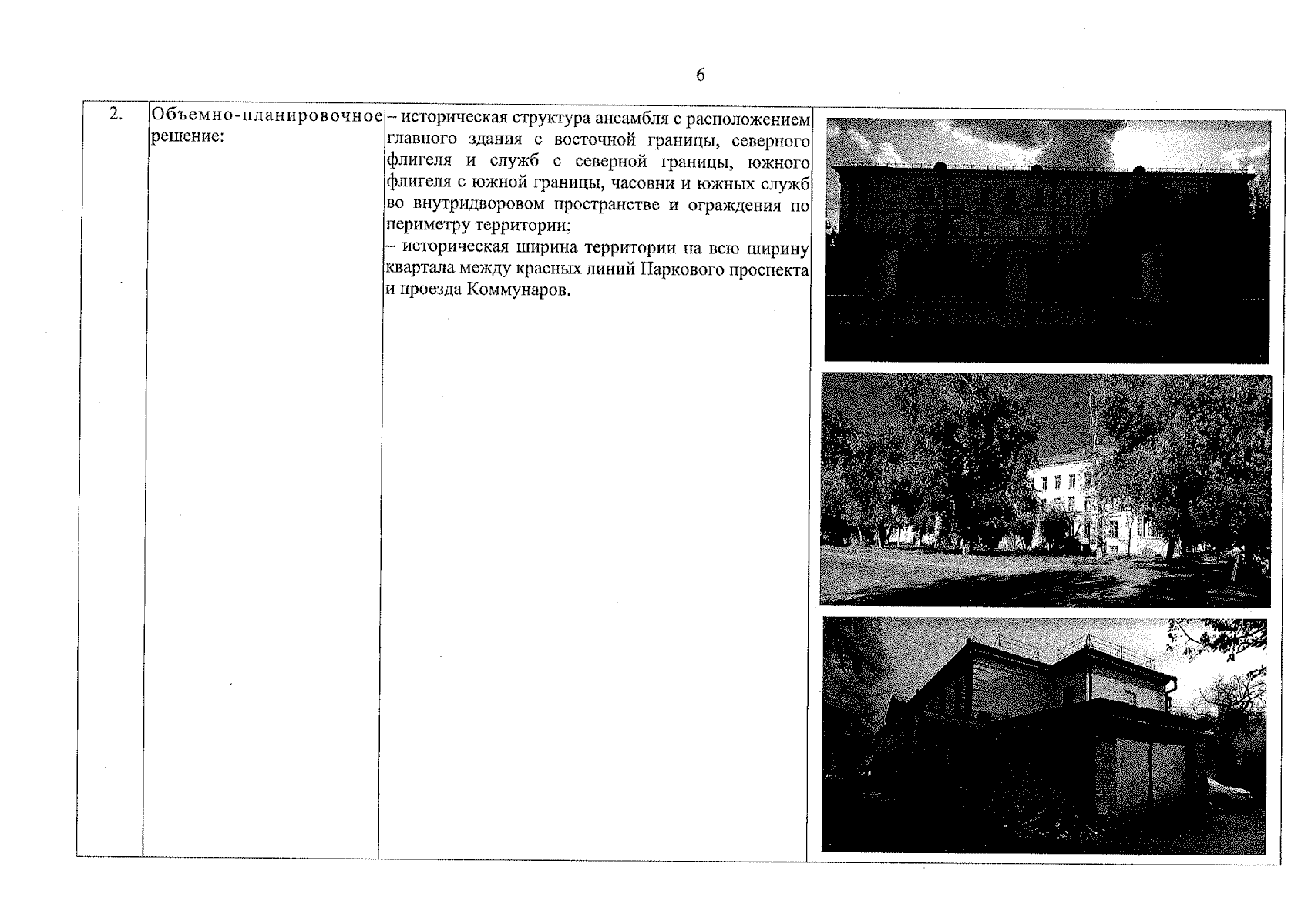
"О включении выявленного объекта культурного наследия в единый государственный реестр объектов культурного наследия (памятников истории и культуры) народов Российской Федерации в качестве объекта культурного наследия регионального значения (вид – ансамбль) "Оренбургский (первый) Неплюевский кадетский корпус (Неплюевская военная гимназия)", 1868-1877 годы (Оренбургская обл., г. Оренбург, пр-кт Парковый, 5а, лит. Б; пр-кт Парковый, 7, лит. В1, ЕЕ1, Е2; пр-д Коммунаров, 22, лит. АА1; пр-д Коммунаров, 24, лит. Г), об утверждении предметов охраны, границ и режима использования территории объекта культурного наследия"
(Зарегистрирован 29.02.2024 № 0061.2024.22)
"О включении выявленного объекта культурного наследия в единый государственный реестр объектов культурного наследия (памятников истории и культуры) народов Российской Федерации в качестве объекта культурного наследия регионального значения (вид – ансамбль) "Оренбургский (первый) Неплюевский кадетский корпус (Неплюевская военная гимназия)", 1868-1877 годы (Оренбургская обл., г. Оренбург, пр-кт Парковый, 5а, лит. Б; пр-кт Парковый, 7, лит. В1, ЕЕ1, Е2; пр-д Коммунаров, 22, лит. АА1; пр-д Коммунаров, 24, лит. Г), об утверждении предметов охраны, границ и режима использования территории объекта культурного наследия"
(Зарегистрирован 29.02.2024 № 0061.2024.22)
Номер опубликования: 5601202403010001
Дата опубликования:
01.03.2024
