Официальное опубликование правовых актов
ОФИЦИАЛЬНОЕ ОПУБЛИКОВАНИЕ
Приказ Инспекции государственной охраны объектов культурного наследия Оренбургской области от 15.02.2024 № 01-08-77
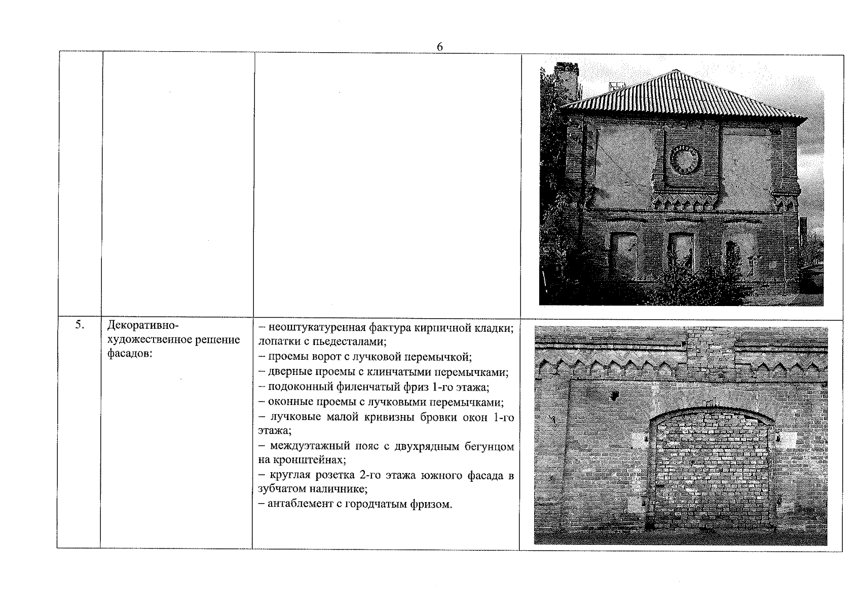
"О включении выявленного объекта культурного наследия в единый государственный реестр объектов культурного наследия (памятников истории и культуры) народов Российской Федерации в качестве объекта культурного наследия регионального значения (вид – памятник) "Конюшня городской усадьбы генерал-майора Н.И. Овчинникова", середина XIX века, (Оренбургская обл., г. Оренбург, ул. Пушкинская/ул. Коваленко/пер. Шевченко, д.48/21/19, Литера А1), об утверждении предмета охраны, границ и режима использования территории объекта культурного наследия"
(Зарегистрирован 15.02.2024 № 0045/2024/22)
Номер опубликования: 5601202402200008
Дата опубликования: 20.02.2024
Страница №6 из 13:
Увеличить