Официальное опубликование правовых актов
ОФИЦИАЛЬНОЕ ОПУБЛИКОВАНИЕ
Приказ Инспекции государственной охраны объектов культурного наследия Оренбургской области от 21.12.2023 № 01-08-813
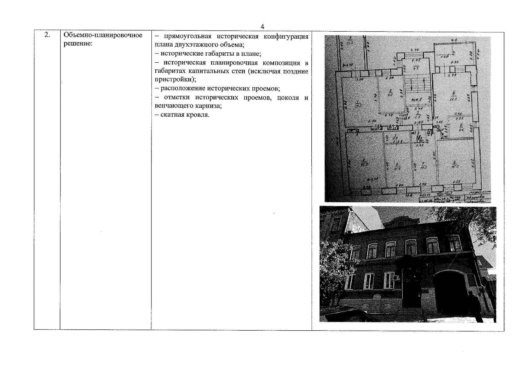
"О включении выявленного объекта культурного наследия в единый государственный реестр объектов культурного наследия (памятников истории и культуры) народов Российской Федерации в качестве объекта культурного наследия регионального значения (вид – памятник) "Дом купца А.П. Ефимова", начало 1880-х годов, (Оренбургская область, г. Оренбург, ул. 9 Января, 54, Литеры АА1), об утверждении предмета охраны, границ и режима использования территории объекта культурного наследия"
(Зарегистрирован 21.12.2023 № 0531/2023/22)
Номер опубликования: 5601202312250024
Дата опубликования: 25.12.2023
Страница №4 из 13:
Увеличить